JIS B1189는 육각 플랜지 볼트에 대한 일본공업규격(JIS)입니다. 이 유형의 볼트는 육각형 머리와 플랜지 표면을 가지고 있으며 일반적으로 연결 부품과의 접촉 면적을 늘려 연결의 안정성과 신뢰성을 향상시키는 데 사용됩니다. 이러한 볼트는 일반적으로 강철과 같은 금속 재료로 만들어지며 강도와 내구성이 높습니다. 볼트의 표면은 내식성과 심미성을 향상시키기 위해 청백색 아연 도금 처리될 수 있습니다.
영화
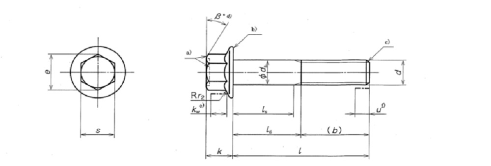
제품 도면
제품 사양
크기 |
M5 |
M6 |
M8 |
M10 |
M12 |
M14 |
M16 |
|
피 |
0.8 |
1.0 |
1.25 |
1.5 |
1.75 |
2.0 |
2.0 |
|
비 |
씨 |
16 |
18 |
22 |
26 |
30 |
34 |
38 |
디 |
/ |
/ |
28 |
32 |
36 |
40 |
44 |
|
이자형 |
/ |
/ |
/ |
/ |
/ |
/ |
57 |
|
분 |
1.0 |
1.1 |
1.2 |
1.5 |
1.8 |
2.1 |
2.4 |
|
다 맥스 |
F형 |
5.7 |
6.8 |
9.2 |
11.2 |
13.7 |
15.7 |
17.7 |
U형 |
6.2 |
7.5 |
10.0 |
12.5 |
15.2 |
17.7 |
20.5 |
|
DC 최대 |
11.4 |
13.6 |
17.0 |
20.8 |
24.7 |
28.6 |
32.8 |
|
DS |
최대 |
5.0 |
6.0 |
8.0 |
10.0 |
12.0 |
14.0 |
16.0 |
분 |
4.82 |
5.82 |
7.78 |
9.78 |
11.73 |
13.73 |
15.73 |
|
dv 최대 |
5.5 |
6.6 |
8.8 |
10.8 |
12.8 |
14.8 |
17.2 |
|
분 |
9.4 |
11.6 |
14.9 |
18.7 |
22.5 |
26.4 |
30.6 |
|
분 |
7.59 |
8.71 |
10.95 |
14.26 |
16.5 |
19.86 |
23.15 |
|
k 최대 |
5.6 |
6.9 |
8.5 |
9.7 |
12.1 |
12.9 |
15.2 |
|
분 |
2.3 |
2.9 |
3.8 |
4.3 |
5.4 |
5.6 |
6.8 |
|
lf 최대 |
1.4 |
1.6 |
2.1 |
2.1 |
2.1 |
2.1 |
3.2 |
|
r1분 |
0.2 |
0.25 |
0.4 |
0.4 |
0.6 |
0.6 |
0.6 |
|
r2 최대 |
0.3 |
0.4 |
0.5 |
0.6 |
0.7 |
0.9 |
1.0 |
|
r3 |
최대 |
0.25 |
0.26 |
0.36 |
0.45 |
0.54 |
0.63 |
0.72 |
분 |
0.1 |
0.11 |
0.16 |
0.20 |
0.24 |
0.28 |
0.32 |
|
r4 |
4.0 |
4.4 |
5.7 |
5.7 |
5.7 |
5.7 |
8.8 |
|
에스 |
최대 |
7.0 |
8.0 |
10.0 |
13.0 |
15.0 |
18.0 |
21.0 |
분 |
6.78 |
7.78 |
9.78 |
12.73 |
14.73 |
17.73 |
20.67 |
|
V |
최대 |
0.15 |
0.2 |
0.25 |
0.3 |
0.35 |
0.45 |
0.5 |
분 |
0.05 |
0.05 |
0.1 |
0.15 |
0.15 |
0.2 |
0.25 |
|
고객 맞춤화 지원 |
||||||||
우리 회사에 대한 소개
애플리케이션
당사의 제품은 기계, 전기, 자동차, 건축, 철도, 교량, 증기선, 화재 예방 및 통신 시스템 등에 널리 사용됩니다.
작업장
인증
지난스타파스너(주)는 과학적 관리를 통해 2015년판 ISO9001 품질경영시스템 인증을 획득하였습니다. 2017년에 연구소는 국가 CNAS 인증을 통과했습니다. 2018년에는 유럽 CE 인증을 통과했습니다.
테스트 장비
우리 회사는 디지털 경도 시험기, 현미경, 만능 시험기, 축력 측정기, 수소 취성 탐지 장치, 자분 탐상기, 금속 조직 분석기, 탄소 및 황 분석기, 염수 분무 시험기 등을 갖춘 전문 실험실을 보유하고 있습니다. 실험 시험 장비는 모든 제품이 표준 요구 사항을 충족하고 고객을 만족시킬 수 있도록 원자재의 화학적 조성, 제품 경도, 기계적 특성, 코팅 두께 및 내식성에 대한 포괄적인 테스트를 수행하는 데 사용됩니다.
생산설비
우리 회사는 300 개 이상의 생산 장비를 보유하고 있습니다. 제품 생산 공정에는 어닐링, 쇼트 블라스팅, 냉간 압조, 나사 압연, 열처리, 아연 도금, 완제품 테스트, 포장 등이 모두 회사에서 완료됩니다.
포장
자주하는 질문
1. 제품 품질에 관한 질문
질문: 볼트 제품의 품질은 어떻습니까?
답변: 고객은 맞춤형 제품에 대한 관련 설계 도면을 보내드립니다. 우리는 고객 요구에 따라 엄격하게 맞춤화하고 패스너 산업의 품질 표준을 준수합니다. 공장에는 실험실이 있으며 각 제품 배치에 대해 엄격한 품질 검사를 실시하여 고객에게 배송되는 제품이 강도, 내마모성 및 내식성 측면에서 최상의 상태인지 확인합니다.
2. 제품 맞춤화에 관한 질문
질문: 맞춤형 서비스를 제공할 수 있나요?
대답: 그렇습니다, 우리는 개인화한 주문을 받아서 만들어진 서비스를 제공합니다. 우리의 기술 및 생산 팀은 고객 요구에 따라 엄격하게 설계하고 생산합니다.
3. 배송 시간에 대한 질문
질문: 배송 시간은 얼마나 되나요?
답변: 배송 시간은 일반적으로 주문한 제품의 수량, 복잡성 및 현재 주문 상태에 따라 다릅니다. Jinan Star는 보장된 품질과 수량으로 가능한 한 빨리 귀하의 상품의 생산 및 운송을 준비할 것입니다. 특별한 상황이나 요구 사항이 있는 경우 적시에 귀하와 소통하고 배송 시간을 조정하겠습니다.












